首页
题库
网课
在线模考
桌面端
登录
搜标题
搜题干
搜选项
0
/ 200字
搜索
多项选择题
创设活动载体的基本思路是:( )。
A、精心设计
B、内容鲜活
C、成本可控
D、形式新颖
E、吸引力强
点击查看答案&解析
在线练习
手机看题
你可能感兴趣的试题
问答题
以下哪本武侠小说不是金庸的作品?
答案:
1.流星蝴蝶剑
2.射雕英雄传
正确答案:流星蝴蝶剑
《流星·蝴蝶·剑》是1971年8月出版的图...
点击查看答案&解析
手机看题
单项选择题
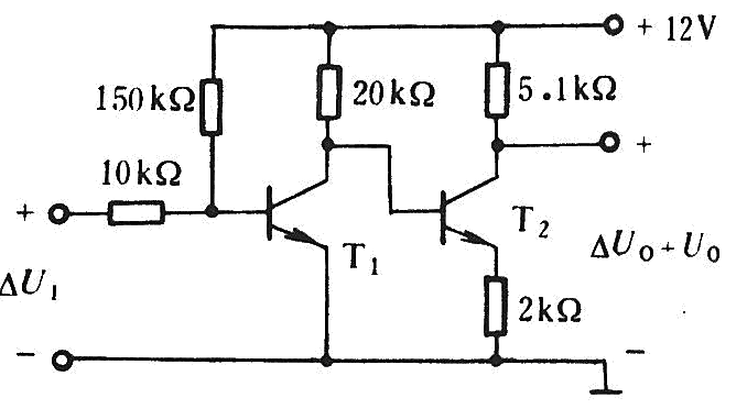
如图所示两级放大电路,已知晶体管β1=β2=40,UBE1=UBE2=0.65V。求:静态时的ICQ2≈ ________mA。
A.0.01
B.0.02
C.0.4
D.1
点击查看答案&解析
手机看题
微信扫码免费搜题